Description
| Application: | Heating facilities, AIR conditioning facilities |
| Medium: | Water, water with cold-protection, etc. |
Scope of applications
Line regulatiValves are used for „shut-off and/or throttling of media“.
Valves with a defined characteristic for heating and cooling systems.
The information complies to the Pressure Equipment Directive 2014/68/EU.
It is the responsibility of the machine planner to ensure compliance.
The special markings on the valve must be taken into account.
Refer to the catalogue sheet to see which materials are used in standard versions.
Please contact the supplier or the manufacturer if you have any questions.
Operating principles
The valve is closed (cone/seating function) by turning the hand wheel clockwise.
Do not use tools to increase the torque on the hand wheel. The valve stem is sealed by a bellows and an outer safety stuffing box.
The position of the valve cone is shown on the digital display every complete turn and every tenth and five-hundredths of a turn, is also shown (DN 15 – 150)
Over DN 200 the lift is seen on the lift indicator.

Fig. 1: DN 15- 150 with digital display

Fig. 2: DN 200 with lift indicator
Diagram
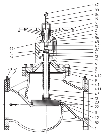
Refer to the data sheet for information about materials with designations and figure numbers.

Fig. 3: DN 15 – 150 with digital display

Fig. 4: DN 200 with lift indicator
| Pos. | Designation |
| 1 | Body |
| 1.2 | Seat ring |
| 2 | Bonnet |
| 3 | Plug |
| 4 | Stem |
| 5 | Handwheel |
| 6 | Packing ring |
| 7 | Stud |
| 8 | Hexagon nut |
| 9 | Gasket |
| 10 | Spring-type straight pin |
| 11 | Packing follower |
| 12 | Screw joint |
| 13 | Removable lock washer |
| 14 | Spring-type straight pin |
| 15 | Insert nuts |
| 16 | Washer |
| 19 | Guard cap |
| 22 | Stem ring |
| 23 | Sicherungsblech |
| 32 | Flange cover |
| 33 | Hexagon nut |
| 34 | Hexagon nut |
| 36 | Round head grooved pin |
| 37 | Snap ring |
| 38 | Lubricating nipple |
| 40 | Sealing ring |
| 41 | Pressure gauge stud G1/4“ |
| 42 | Hexagon guard cap |
| 43 | Scale |
| 44 | Scale ring |
| 76 | Digital display |
| 77 | Indicator ring |
ARI-ASTRA® Plus
Combined flow regulating valve – straight through with flanges
PHONE: 0812-3340-4116WHATSAPP: 0812-3340-4116
ARI ARMATUREN – Steam product solution
- ARI-ASTRA® Combined flow regulating valve
- ARI-ASTRA® Plus Combined flow regulating valve
- ARI-ASTRA® D Automatic volume flow limiter
- ARI-ASTRA DC ARI Armaturen











